国内三大运营商,每家情况都可能不同。对联通友好的不一定对电信友好,移动宽带虽然国内网速渣,但国际出口却很牛逼。而且以国人一贯所为必上多倍发包加速软件,锐速、kcptun哪个不暴力?最后肯定被玩坏(建议配合使用谷歌BBR加速,CentOS 6/7 x86_64更换4.9版本内核,支持Google BBR拥塞控制算法,速度提升10倍)。
所谓授人与鱼不如授人与渔,我来介绍下自己常用的测试方法,先立一个反面教材,就是之前用的不错的digitalocean ,现在已经变残!
测试方式:ping延迟、路由跟踪、丢包率测试和100M文件下载测速 (不必全部采用)
测试对象:DigitalOcean旧金山机房
测速ip: http://speedtest-sfo1.digitalocean.com
100 M 下载测速: http://speedtest-sfo1.digitalocean.com/100mb.test
一、ping测速 :低延迟是一个很好的开端,网络游戏对这个要求高。据我经验延迟超过220ms的VPS,不仅用putty操作时很可能出现无响应导致软件安装进程中断,在线网页操作速度也慢。我给的建议是延迟最好在170ms以下。
个人:直接 ping -t 命令即可。
DO旧金山机房平均延迟已经250ms,不少超过300ms的,这怎么用?
二、路由跟踪 :主要看走什么线路,是否直连!如果绕来绕去的话,我肯定是不买的。在这里提个醒,不要想当然地以为香港的VPS肯定就是直连,大家可以测试下香港SoftPlayer是不是绕了全中国了?当然即使是香港直连延迟低,也不见得它速度就快,怕就怕它技术不行,丢包率高或者偷偷限速,香港gigsgigscloud就是如此,我之前还在答案里推荐过呢,没想到后来不知怎么就不行了,速度上不去,估计是限速了!!!!
针对企业的优质线路有电信CN2,ip开头是59.43.x.x. 联通有精品网 AS9929 ,不过一般很少见到。中国海底光缆出口为青岛、上海、汕头,请参考海底光缆分布图http://www.cablemap.info/ 。
个人:使用ipip出品的本地可视化跟踪工具Best trace ,地图显示ip对应地点。
下载地址:http://cdn.ipip.net/17mon/besttrace.exe
站长:使用ipip的在线traceroute工具,可以全国各地任选机房,跟踪完毕后同样可以生成地图。链接: TraceRoute查询_最专业的 IP 地址库_IPIP.NET
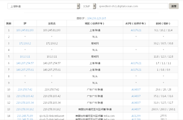
上海联通用户到美国旧金山机房居然要绕广州!明明可以直连,延迟都快300ms了。
下面是生成的地图
其实新加坡机房更扯,电信用户先绕美国再绕日本,最终才到新加坡!
三、丢包率测试
测试工具:MTR ,其实是将ping命令与traceroute结合起来的一个工具 ,可以查看每个路由结点的丢包率,问题是出在自己这一方的运营商呢还是对方呢?丢包率高,网络不稳定,一会快一会慢是不行的。如果你觉得网络不好,可以将MTR测试报告给服务商,让他们负责优化。
个人:使用WinMTR ,下载地址:WinMTR - Free Network Diagnostic Tool
站长:推荐MTR测试 网站速度测试 17CE ,机房不多可以做参考。
我选取了一个安徽联通机房做测试,结果发现居然绕欧洲了,而且接口处丢包率达到50%
四、 100 M 文件下载测速:下载速度建议至少100K/S,这个不单与服务器有关,与自家宽带也有关系。自家带宽越大,干扰越强,请务必结合其他因素考虑。
个人下载100M测速文件:http://speedtest-sfo1.digitalocean.com/100mb.test
站长:推荐网站测速| 17CE.COM ,使用get指令来执行全国各地下载测速,下面的图只贴了一部分,我观察全部的检测结果电信速度确实很不错。
之前测过安徽联通的丢包率,这回测试下载速度,结果却是没反应。并且不少下载速度
在100K/S以下的 ,我只截取部分,感兴趣可以自己测试。
以上工具可以起到基本的辅助作用,但也要去别的论坛探探底,推荐V2EX 。有些商家很缺德,给你测试的ip和测速文件就是个幌子!
购买前的测试方式讲完了,此问题既然着眼于适合个人使用的VPS,那我就推荐一些便宜但是性价比很高的VPS,速度是不错的,事先说明:没准以后也会被玩烂
1、樱花免费docker
测速ip:153.125.238.209
樱花的口碑一直很好,延迟在100ms左右,免费申请地址:Arukas Control Panel .
建议使用github账户申请,审核速度更快!如果个人新注册账户申请,没准不会通过。
更新:官方邮件通知免费至今年6月30日 。
备注:免费的VPS还有亚马逊AWS 和 google cloud ,都是免费一年的,不过麻烦的是要绑定信用卡。我之前用全球付的虚拟卡成功绑定AWS,但申请的时候还是没有通过,当时没填写个人网址,而且现在全球付得预先充值300元了。google cloud是不支持全球付的,但从我借用别人的服务器来看,速度是很棒的。
2、 Vultr: High Performance SSD Cloud.
洛杉矶机房测速:
测速ip : http://lax-ca-us-ping.vultr.com
100 M下载文件: https://lax-ca-us-ping.vultr.com/vultr.com.100MB.bin
vultr每月2.5美元,512M内存! 按小时付费。有免费快照,不想用直接快照备份然后删除服务器是不收费的,特别适合那啥。
对我自己来说速度还是不错的,下面是我之前东京机房个人测速截图,不过现在东京机房被玩烂了,有些地区比不上洛杉矶了.东京的延迟不错,100ms左右,感兴趣的也可以测试下:
测速ip: http://hnd-jp-ping.vultr.com
100 M下载文件: https://hnd-jp-ping.vultr.com/vultr.com.100MB.bin
官方测速ip:107.182.184.6
100M 下载测速:http://107.182.184.6/100mb.bin
搬瓦工以前推出过年付3.99刀的openvz套餐,引来抢购狂潮,我以前也跟很多人一样觉得超售如此厉害,网络一定很糟糕。怀着迟疑的态度买了一款,后来测试速度还不错,而且没有什么丢包,可见其技术实力。
现在洛杉矶机房对移动联通很友好,月付2.99美元(年付19.99美元),512 M 内存,500 GB流量 ,KVM架构 。KVM架构可以安装加速软件,不容易超售。
4、 HostUS - Worldwide VPS Hosting
官方测速ip: 172.106.32.2
100 M测速文件: http://la02-lg.hostus.us/100MB.test
这里介绍HostUS电信CN2线路,不过是半程CN2,不是太推荐。注意必须购买洛杉矶KVM套餐才有CN2的ip,openvz的是没有的。最低$4.35/月,512 M 内存 ,可以使用15%优惠码 :VPS15OFF .
贴一下我刚刚开通的洛杉矶KVM的ip路由跟踪情况:
可以看到路由经过了ip :59.43.248.105 ,前面说过凡是经过59.43.x.x的路由都是电信CN2

-- 只推荐自己用过并且是KVM架构的用着还不错的vps --
openvz架构的不推荐,大多超售厉害,Vultr都$2.5了,还买什么openvz,毫无性价比嘛。
------------------------------------------------------分割线-------------------------------------------------------
1、Vultr:拥有分布在美国、欧洲、澳大利亚、亚洲的15处机房,移动联通体验会好于电信。可以免费镜像,备份也方便,可以保留IP,随删随建,适合建站。
*降价了 降价了 降价了 最低只需$2.5/月*
# 带宽1G;流量500G; 内存512M;硬盘20G SSD (2.5刀)
# 带宽1G;流量1T; 内存1024M;硬盘25G SSD (5刀)
# 免费快照,最低增加$0.5可自动备份(每天/每周备份),建站的话利于安全。
新用户通过邀请链接注册 充值$5送$10 (官方已取消送$20优惠);
传送门:Vultr: High Performance SSD Cloud.
________
2. Linode:之前被称为vps中的高富帅,最近降价了,搞得楼上Vultr也降了,有意思。
*新用户通过优惠码可获取20刀*
在美国、德英国、新加坡、日本登出共有9处机房位置,管理后台功能很多,也很方便,可以为服务器的管理节省很多时间。具有救援模式,备份,内核切换等多种功能。
# 带宽1G ;流量1T;内存1G;硬盘20G SSD (5刀)
传送门: https://www.linode.com/?r=dab1f745e1008740eec19978ad9184563c0d36ba
优惠码: PodcastInIt2017 (送20刀)
________
3、阿里云国际版:请注意这里提到的是阿里云国际版,不是内地版,他们的香港机房不用备案而且是cn2,三网体验都很好,电信由于国际带宽拥挤,用cn2会很不错。
优惠活动1:新用户免费体验,包括ECS$20优惠券(可购买云服务器)。其他优惠券还有 云数据库RDS版50刀优惠券、云数据库Redis50刀优惠券、负载均衡50刀优惠券、对象储存50刀优惠券,表格储存50刀优惠券等。

其他免费使用机会:

优惠活动2:“一键购买”云服务器,最低$10/月(9+1,1元是流量包费用),带宽30M;流量2T;40G高效云盘(这个真心好用,溜得飞起,流量还大)。因为到期后提供15天用于数据保存,所以实际可以使用45天。觉得30M带宽不爽,可以再开个200M按量计算的服务器,因为2T流量是共享的,所以按量计算实际不会扣流量钱。
优惠活动3:一站式建站服务, 最低平均$9/月
包年,配置类似优惠2,但是赠送一个.com域名,配合$20优惠券最低美国欧洲新加坡$88/年,香港$184/年,详见官网。(流量:2T/3T/4T/5T)
传送门:Register account
注意:由于地区限制,注册略麻烦,参见下面这个回答:
________
4、KDATACENTER:韩国IDC,服务质量高,速度快,价格贵。
韩国vps延迟低速度快,甚至可以玩游戏,$10只够起个步,而这家是 $19/月 ,稳定快速,我一直在用,从来没出过问题,适合高端用户,一分钱一分货,我觉得是目前最好的韩国vps。
# 带宽100M(共享);流量500G;内存1G,硬盘100G SSD
传送门:Place new Order - KDATACENTER
________
5、NETDEDI: 韩国IDC,提供sk和kt两种韩国vps,$10/月 ,总体效果不错。(提供下载测速文件)
# 流量500G; 内存1G;硬盘10G SSD #
性价比高,整体不错。要求没那么高,买不起Kdatacenter可以考虑这个。
________
6、Digitaloecan:移动用户新加坡机房是直连,效果还是不错的,也有快照等功能,Linode和Vultr都降价了,这家估计也会降,坐等。
# 带宽1G(共享);流量1T;内存512M;硬盘20G SSD ;免费快照
# 优惠:a 新用户通过邀请连接注册 充值$5会送$10(信用卡的话绑定即送,不需充值);b 通过GitHub学生认证获取GitHub studnet's pack 获取DIgitalocean $50优惠码。
传送门: DigitalOcean: Cloud computing designed for developers
50刀优惠教程: 通过GitHub学生认证获取VPS(虚拟专用服务器)等资源
注意:没有.edu邮箱的话可以忽略注册邮箱那一步,直接拍照学生证上传。
(算下来$5最多可以用11个月)
________
7、亚马逊AWS
a、免费体验一年,需要信用卡验证,扣1美元,之后会返还。注意看规则,各种资源限制是多少,什么服务免费什么服务收费看清楚。不看规则,乱用一通,钱被扣了就骂娘的就不用考虑这个了。

b、亚马逊旗下还有个LightSail,刚做不久,提供VPS,5刀/月,首月免费体验。
传送门:Simple Virtual Private Servers on AWS
注:大学生的话,注册一个Github student‘s pack 里面有aws优惠券,可以领取150刀。
________
8、Google Cloud Platform
注册送300刀,期限一年,不经过用户授权300用完之后不会自动扣钱。需要信用卡验证,扣1美元,之后会返还。(asia-3是台湾机房,延迟特别低,速度很快)

传送门:https://cloud.google.com/free/
________
9、微软Azure
注册送200刀,期限30天,同样需要信用卡验证,不授权不会自动扣款(如图)。大学生的话Github Student's Pack里面有300刀优惠(一年)。

传送门:Create your free Azure account today | Microsoft Azure
________
10、Ctl 【这个没用过,送钱多,所以写这儿了,好不好用不知道】
注册送500刀, http://Ctl.io是美国第三大电信运营商CenturyLink(仅次于AT&T和Verizon)旗下的一家VPS主机商 。需要信用卡验证,扣5美元,之后会返还。

———————————————————————————————————————
说明:
1、KVM架构的VPS可以使用锐速或者Linux内核升级到4.9使用Googl推出的TCP BBR进行加速优化,效果很好。有人用KCP加速,但是那个太暴力了,影响同机房的其他人使用体验,而且开太大容易被封号,不建议。
2、推荐东西容易招骂,以上推荐仅作参考,毕竟花钱的东西,还的自己定夺,眼睛要放亮,尽量使用大商家的服务。随着时间推移,优惠活动可能有变,以官方为准。
3、因为网络运营商以及地区差异可能效果不同,不是某人说好就一定好某人说坏就一定坏,具体请自行测试(ping、traceroute、商家测速文件等方式)。
4、购买之前看好用户协议(TOS),购买之后,实测不好的话及时与商家沟通退款事宜,大多IDC有退款协议。
5、除了阿里云、腾讯云等几个大厂以及小部分良心商家,国人IDC尽量不要碰,大多天坑。






文章评论